Разработка платного шаблона Joomla

Разработано программное обеспечение для встроенного модема многофункциональной системы персональной спутниковой связи «Гонец-Д1М».

Разработана программная документация на модем спутниковой системы многофункциональной системы персональной спутниковой связи «Гонец-Д1М».

Разработан протокол взаимодействия главного контролера системы ЭРА-ГЛОНАСС с модулем по интерфейсу RS-485.

Разработано программное обеспечение для кроссплатформенного программно-аппаратного комплекса для отладки и взаимодействия протокола команд главного контроллера системы «ЭРА-ГЛОНАСС» с модулем по интерфейсу RS-485.

Разработана программная документация на программное обеспечение для модема спутниковой системы и платы интерфейсов модуля с встроенным модемом многофункциональной системы персональной спутниковой связи «Гонец-Д1М».

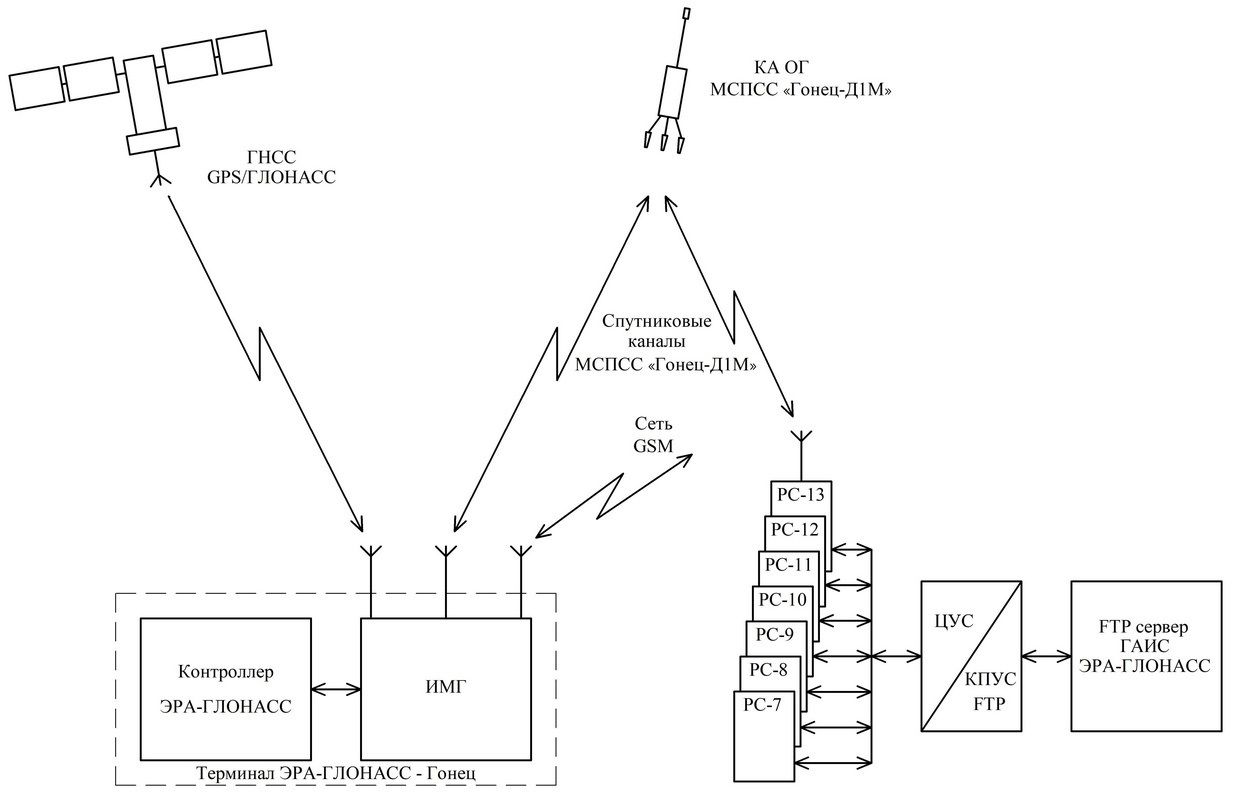
Связной комплекс МСПСС «Гонец Д1М» является многофункциональной системой, использующей спутниковые и сетевые технологии, и состоит из сложных комплексов, каждый из которых выполняет определённые функции, совместно обеспечивающие предоставление услуг связи. В состав связного комплекса входят: - базовая сеть обмена данными (БСОД); - автоматизированная система управления связного комплекса; - наземные средства пользователей (функционально).
Программное обеспечение модема многофункциональной системы персональной спутниковой связи (МСПСС) «Гонец-Д1М» позволяет реализовать: - обмен любыми данными, представленными в цифровой форме, между подвижными и стационарными пользователями, находящимися в зоне радиовидимости космических аппаратов МСПСС «Гонец-Д1М»; - взаимодействие абонентов (пользователей) МСПСС «Гонец-Д1М» с абонентами других сетей и систем связи, в том числе общего пользования; - обеспечение подвижной персональной связи потребителям в глобальной зоне обслуживания; - автоматизированный сбор данных от необслуживаемых датчиков различных систем; - контроль состояния и местоположения транспортных средств и грузов; - передача данных экологического, промышленного и научного мониторинга. Программное обеспечение модема выполняет следующие функции: - инициирование сеанса связи по спутниковому каналу связи МСПСС «Гонец-Д1М»; - организацию доступа к ресурсам сети для приема-передачи; - передачу системных и пользовательских данных; - прием системных и пользовательских данных; - подтверждение передачи (квитирование); - завершение сеанса связи; - взаимодействие с устройствами сторонних разработчиков; - передачи следующего времени сеанса (видимости спутника); - передача точного времени; - приема и передачи данных от внешних устройств.
Программное обеспечение модема осуществляет доступ к связным ресурсам базовой сети обмена данными МСПСС «Гонец-Д1М», реализуя при этом протоколы физического, канального и сетевого уровня. Физический и канальный уровни закрыты для пользователя. Сетевой уровень доступен пользователям в виде программного или аппаратно-программного интерфейса. Доступ к сетевому уровню осуществляется посредством передачи пакетов по каналам ввода-вывода. Сетевой пакет — это блок данных, содержащий транспортный пакет и заголовок сетевого пакета. Заголовок сетевого пакета позволяет обеспечить маршрутизацию пакета сетевыми узлами МСПСС «Гонец Д1М» (региональные станции и спутники), на маршруте доставки от наземного средства отправителя к наземному средству получателю. Транспортный пакет пользовательского сообщения — это блок данных, содержащий сегмент пользовательского сообщения и транспортный заголовок. Заголовок транспортного пакета позволяет объединить сегменты сообщения, передаваемые в составе сетевого пакета по различным маршрутам с различными временными задержками, нарушающими очередность их поступления к получателю, в пользовательское сообщение. Транспортный протокол системы МСПСС «Гонец Д1М» обеспечивает сегментацию пользовательского сообщения, формирование транспортных пакетов для передачи по сети и формирование пользовательского сообщения из транспортных пакетов, поступивших из сети. Транспортный протокол решает задачу надежной доставки данных конечному получателю через сетевые узлы базовой сети обмена данными, учитывая, что транспортные пакеты одного сообщения могут передаваться по сети по различным маршрутам с различными временными задержками, нарушающими очередность их поступления к получателю. Блоком данных на транспортном уровне является транспортный пакет. На уровне представления реализуется функция сжатия информации. Кроме того, пользователь может воспользоваться методами повышения достоверности сообщения с помощью дополнительного корректирующего кодирования сообщения и обеспечения конфиденциальности сообщения.